101-XXX-221S-PXX-Y12浮動插針插座ANDON
發布時間:2024-07-10 09:42:03 瀏覽:1412


特點:
- 適用于DIP和PGA封裝,解決PCB不平整問題。
- 提供開放式和封閉式框架DIP插座及PGA版本。
- 多種端子和觸點尺寸。
材料:
- 絕緣體:高溫尼龍16ul 94v-0。
- 端子:黃銅,符合ASTM-B16。
- 工作溫度:-65°C至+150°C。
接觸力:
- 插入力:9盎司。
- 提取力:2盎司。
觸點類型:
- S型:標準DIP,插入力9.0盎司,撤離力2.0盎司。
- M型:標準PGA,插入力1.6盎司,抽吸力0.5盎司。
- L型:間質PGA,插入力1.0盎司,抽離力0.3盎司。
- H型:高強度,插入力18.3盎司,撤回力4.2盎司。
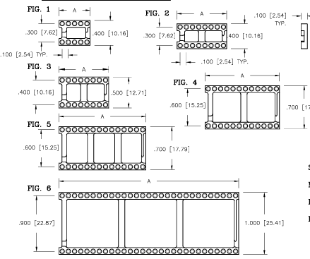
| WAFER CHART | ||||
| PIN | DIM"A | |||
| FIG.1 | 6 | 300 [7.62] | 306 | |
| 8 | 400 10.16 | 308 | ||
| 10 | 500 12.70] | 310 | ||
| FIG.2 | 14 | 700 17.78 | 314 | |
| 16 | 800 20.32 | 316 | ||
| 18 | 900 22.86 | 318 | ||
| 20 | 1.000 [25.40] | 520 | ||
| 22 | 1.100 [27.94 | 322 | ||
| 24 | 1.200 [30.48 | 324 | ||
| 28 | .400 [35.56 | 328 | ||
| FIG.3 | 16 | 800 20.32 | 416 | |
| 22 | 1.100 [27.94] | 422 | ||
| 24 | 1.200 [30.48 | 424 | ||
| FIG,4 | 24 | 1.200 30.48 | 624 | |
| FIG.5 | 28 | 1.400 [35.567 | 528 | |
| 30 | 1.500 [38.10 | 630 | ||
| 32 | 1.600 40.64 | 532 | ||
| 36 | 1.800 [45.72] | 636 | ||
| 40 | 2.000 50.80 | 540 | ||
| 48 | 2.400 60.96 | 648 | ||
| FIG.6 | 50 | 2.500 63.50 | 950 | |
| 52 | 2.600 [66.04 | 952 | ||
| 64 | 3.200 | 81.28 | 964 | |

推薦資訊
EZ Form? EZFlex Formable?電纜線銅錫復合外導體提供固體護線套半剛性電纜同樣的100%覆蓋率,但是可以輕松按照客戶的規格人工塑型。
Glenair?的Super ITS-MB Seacrow反向卡口船用青銅系列連接器滿足MIL-DTL-5015標準規定,應用一致的電源和信號插進設備,但具備反向卡口聯軸器和精密機械加工的船用青銅結構。
在線留言