歡迎來深圳市立維創展科技有限公司官方網站!
24H服務熱線
0755-83050846 / 83642657
IC集成電路
美國Marvell在數據處理和網絡交換機的主控芯片方向,占據重要的市場份額。
深圳市立維創展科技有限公司,在Marvell產品線上部分系列擁有大量現貨優勢,原裝正品,優勢價格,期待與各同行渠道商合作。
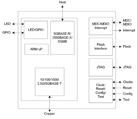
88E2010-A1-BUS4I000
88E2010-A1-BUS4I000工作溫度:-40~+85℃
數據速率:10 Mb/s, 100 Mb/s, 1 Gb/s, 2.5 Gb/s, 5 Gb/s
工作電源電壓:880 mV
電源電壓:0.854 V~0.906 V
88E1548-A1-BAM2C000
工作溫度:0~+70℃
數據速率:10 Mb/s, 100 Mb/s, 1 Gb/s
工作電源電壓:1 V
電源電壓:0.95 V~1.05 V
電源電流—最大值:280 mA
88E1510-A0-NNB2C000
電源電流—最大值:72 mA
88E1514-A0-NNP2C000
88X5113-A1-BVW4C000
數據速率:25 Gb/s, 40 Gb/s, 100 Gb/s
工作電源電壓:900 mV
電源電壓:0.855 V~0.945 V
電源電流—最大值:941 mA
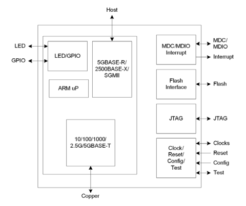
88E2010-A1-BUS4C000以太網芯片
數據速率: 100 Mb/s, 1 Gb/s, 2.5 Gb/s, 5 Gb/s
工作電源電壓: 800 mV
電源電壓: 0.776 V~0.824 V
封裝:HFCBGA-168
訂貨周期: 1周
下一頁
尾頁
共2頁26條數據
在線留言